Tolerancias geométricas
Las tolerancias geométricas se especifican para aquellas piezas que han de cumplir funciones importantes en un conjunto, de las que depende la fiabilidad del producto. Estas tolerancias pueden controlar formas individuales o definir relaciones entre distintas formas. Es usual la siguiente clasificación de estas tolerancias:
Formas primitivas: rectitud, planicidad, redondez, cilindricidad.
Formas complejas: perfil, superficie.
Orientación: paralelismo, perpendicularidad, inclinación.
Ubicación: concentricidad, posición.
Oscilación: circular radial, axial o total.
Rectángulo de tolerancia
La indicación de las tolerancias geométricas en los dibujos se realiza por medio de un rectángulo dividido en dos o más compartimientos, los cuales contienen de izquierda a derecha la siguiente información.
- El símbolo de la característica geométrica.
- El valor de la tolerancia en las unidades empleadas para las dimensiones lineales, en algunas ocasiones puede estar precedido del signo “Ø” (figura 2) si la zona de tolerancia es cilíndrica; o de “SØ” si la zona de tolerancia es esférica (figura 3).
- La(s) letra(s) que permitirá(n) identificar el elemento de referencia o el sistema de referencia (ver figuras 1, 2, 3 y 4).

Las tolerancias de localización son fundamentales para garantizar que las características geométricas de una pieza cumplan con los requisitos de diseño y ensamblaje. Controlan la posición, orientación y alineación de diferentes elementos dentro de un sistema mecánico. Aquí tienes una explicación detallada de cada uno de estos conceptos:
Tolerancia de Posición
La tolerancia de posición especifica un rango dentro del cual una característica, como un agujero o un eje, puede desviarse de su ubicación teórica ideal sin afectar el funcionamiento del ensamblaje. Se define en relación con un sistema de referencia, asegurando que la pieza opere dentro de los parámetros establecidos.
Ejemplo: Si una placa metálica tiene agujeros para tornillos, estos deben cumplir con una tolerancia de posición. Si los agujeros están demasiado alejados de su ubicación óptima, los tornillos podrían no encajar correctamente, afectando la estabilidad del ensamblaje.
Coaxialidad y Concentricidad
Coaxialidad: Define la alineación de dos o más elementos cilíndricos a lo largo de un mismo eje. Se utiliza en ejes de transmisión, donde diferentes partes giratorias deben estar perfectamente alineadas para evitar vibraciones y desgaste excesivo.
Concentricidad: Se refiere a la coincidencia de los centros geométricos de dos formas circulares, asegurando que una figura quede dentro de otra sin desplazamiento fuera de la tolerancia permitida.
Ejemplo: Un eje que gira dentro de un cojinete debe ser coaxial con respecto al cojinete para evitar fricción irregular y problemas de funcionamiento. En un engranaje, su centro debe ser concéntrico con el del eje para garantizar una transmisión uniforme del movimiento. Simetría
La tolerancia de simetría regula la equidistancia de una característica con respecto a un plano de referencia. Es especialmente importante en piezas que requieren una distribución uniforme para su correcto desempeño.
Ejemplo: Imagina un soporte metálico que debe mantener una distribución simétrica para que su carga se distribuya de manera uniforme. Si la simetría no se cumple dentro de la tolerancia, el soporte podría generar una distribución desigual de la carga, afectando la estabilidad del sistema.
Tolerancias de Cabeceo
La tolerancia de cabeceo define la inclinación permitida de una característica con respecto a una referencia. Se aplica en superficies angulares y ensamblajes que requieren una orientación precisa.
Ejemplo: Si un soporte inclinado debe encajar con otra pieza en un ángulo específico, la tolerancia de cabeceo garantiza que su inclinación no varíe más de lo permitido. Si la inclinación se excede, la pieza podría no ensamblarse correctamente, afectando la estabilidad del conjunto.
Referencias:
Cuando el elemento a controlar se relaciona con una referencia, se utilizará una letra mayúscula en un recuadro que va unido a un triángulo de referencia solido o hueco, para identificar dicha referencia (ver figuras 5 y 6).
La misma letra utilizada en la referencia se indicará en el cuadro de tolerancia.

Tipos de tolerancia
Tolerancias de forma: es la categoría más simple y describes en general la forma de la pieza además de controlar la rectitud, planitud, redondez. cilindricidad, perfil de una línea y perfil de superficie.
A continuación, se analizan de manera esquemática las diferentes tolerancias de forma. (Arias, 2013)
Rectitud aplicada a una superficie.
| Tipo De Tolerancia | Forma |
Interpretación: El valor de la tolerancia debe ser menor que el valor de la tolerancia dimensional de 0.2mm La zona de tolerancia aplicada a cada elemento lineal. |
|---|---|---|
| Símbolo | ||
| Referencia a Datum | Ninguna |
Indicación en el dibujo
|
| Zona De Tolerancia De Rectitud | Dos líneas paralelas |
Zona de tolerancia
|
Redondez
| Tipo De Tolerancia | Forma |
Interpretación: El contorno de cualquier sección transversal deberá estar contenido ente dos circunferencias concéntricas cuya diferencia de radios es de 0.05mm |
|---|---|---|
| Símbolo | ![]() |
|
| Referencia a Datum | Ninguna |
Indicación en el dibujo
|
| Zona De Tolerancia De redondez | Dos círculos coaxiales |
Zona de tolerancia
|
Cilindricidad
| Tipo De Tolerancia | Forma |
Interpretación: El contorno de cualquier sección transversal deberá estar contenido ente dos circunferencias concéntricas cuya diferencia de radios es de 0.05mm |
|---|---|---|
| Símbolo | ![]() |
|
| Referencia a Datum | Ninguna |
Indicación en el dibujo
|
| Zona De Tolerancia de cilindricidad. | Dos cilindros coaxiales |
Zona de tolerancia
|
Tolerancias de orientación.
Estas tolerancias controlan la relación de los segmentos entre sí, y se describe en términos de angularidad, paralelismo y perpendicularidad. (Arias, 2013)
Paralelismo.
| Tipo De Tolerancia | Orientación |
Interpretación: El plano controlado deberá estar contenido entre dos planos paralelos separados de 0,1 mm y paralelos al plano de referencia A |
|---|---|---|
| Símbolo | ||
| Referencia a Datum | Se requiere |
Indicación en el dibujo
|
| Zona De Tolerancia de perfil de orientación. | Dos planos paralelos (por defecto) Un cilindro (cuando se muestra Ø) |
Zona de tolerancia
|
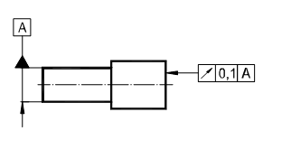
Perpendicularidad (aplicada a una superficie).
| Tipo De Tolerancia | Orientación |
Interpretación: Controla además la planicidad de la superficie. Se pueden crear referencias múltiples. |
|---|---|---|
| Símbolo | ![]() |
|
| Referencia a Datum | Se requiere |
Indicación en el dibujo
|
| Zona De Tolerancia de perfil de perpendicularidad. |
Dos planos paralelos Dos líneas paralelas ( con la nota “cada elemento lineal” o “cada elemento radial”) |
Zona de tolerancia
|
Angularidad.
(aplicada a una superficie)
| Tipo De Tolerancia | Orientación |
Interpretación: Se deben utilizar dimensiones básicas desde la superficie con tolerancia hacia el datum de referencia. Controla la planicidad de la superficie. Se pueden usar referencias de datum múltiples. |
|---|---|---|
| Símbolo | ![]() |
|
| Referencia a Datum | Se requiere |
Indicación en el dibujo
|
| Zona De Tolerancia de angularidad. |
Dos planos paralelos Dos líneas paralelas ( con la nota “cada elemento lineal” o “cada elemento radial”) |
Zona de tolerancia
|
Tolerancias de localización
Este tipo de tolerancias puede ser una de las más relevantes, ya que ubican un segmento en un punto determinado y usan la posición, la concentricidad, y la simetría para describirlo. (Arias, 2013)
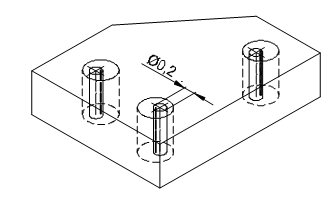
Posición.
| Tipo De Tolerancia | Localización. |
Interpretación: Cada uno de los ejes de los tres agujeros deberá estar situado dentro de un cilindro de diámetro 0,2mm, cuyo eje coincidirá con la posición teórica exacta de los ejes de dichos agujeros, la cual ha sido establecida con respecto a los planos de referencia A y B. |
|---|---|---|
| Símbolo | ![]() |
|
| Referencia a Datum | Se requiere |
Indicación en el dibujo
|
| Zona De Tolerancia de posición. |
Dos planos paralelos (por defecto) Un cilindro cuando se utiliza el símbolo Ø. |
Zona de tolerancia
|
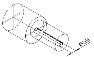
Concentricidad y Coaxialidad.
| Tipo De Tolerancia | Localización |
Interpretación: El eje del cilindro controlado deberá estar situado dentro de un cilindro de diámetro 0.05mm y coaxial con el eje de referencia A. |
|---|---|---|
| Símbolo | ![]() |
|
| Referencia a Datum | Se requiere |
Indicación en el dibujo
|
| Zona De Tolerancia concentricidad y coaxialidad. | Un cilindro cuando se utiliza el símbolo Ø. |
Zona de tolerancia
|
Simetría.
| Tipo De Tolerancia | Localización |
Interpretación: El plano de simetría de la ranura deberá estar situado entre dos planos paralelos separados 0.05mm y situados simétricamente con respecto al plano medio A de referencia. |
|---|---|---|
| Símbolo | ![]() |
|
| Referencia a Datum | Se requiere |
Indicación en el dibujo
|
| Zona de tolerancia de simetría. |
Dos planos paralelos (por defecto) Un cilindro cuando se utiliza el símbolo Ø. |
Zona de tolerancia
|
Tolerancias de cabeceo o alabeo.
Estas tolerancias localizan los segmentos y orienta las formas. Estas describen como se relacionan los segmentos con un eje y los orienta. (Arias, 2013)
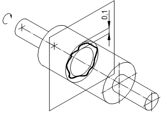
Alabeo circular radial.
| Tipo De Tolerancia |
Alabeo u Oscilación |
Interpretación: En cualquier posición de medición radial, la oscilación máxima del contorno de la sección correspondiente está limitada por dos círculos concéntricos cuya diferencia de radios es de 0.1mm y centro coincidente con en el eje de referencia A-B, durante una revolución completa de la pieza alrededor de dicho eje. |
|---|---|---|
| Símbolo | ||
| Referencia a Datum | Se requiere |
Indicación en el dibujo
|
| Zona de tolerancia de alabeo radial. |
Dos círculos coaxiales (cuando aplica a un diámetro). |
Zona de tolerancia
|
Alabeo circular axial.
| Tipo De Tolerancia | Alabeo u Oscilación |
Interpretación: En cualquier posición de medición axial, la oscilación máxima del contorno de la sección correspondiente está limitada por dos círculos paralelos separados 0.1mm, y centro coincidente con el eje de referencia A, durante una revolución completa de la pieza alrededor de dicho eje. |
|---|---|---|
| Símbolo | ||
| Referencia a Datum | Se requiere |
Indicación en el dibujo
|
| Zona de tolerancia de alabeo axial |
Dos círculos coaxiales |
Zona de tolerancia
|
Alabeo total radial
| Tipo De Tolerancia |
Alabeo u Oscilación |
Interpretación: En toda la superficie cilíndrica, la máxima oscilación radial que puede presentar la misma está limitada por dos cilindros coaxiales cuya diferencia de radios es 0.1mm y cuyos ejes coinciden con el eje de referencia A-B, durante varias revoluciones de la pieza alrededor de dicho eje y con desplazamiento axial del equipo de medida. |
|---|---|---|
| Símbolo | ||
| Referencia a Datum | Se requiere |
Indicación en el dibujo
|
| Zona de tolerancia de alabeo radial total |
Dos cilindros coaxiales |
Zona de tolerancia
|
Alabeo total radial axial.
| Tipo De Tolerancia | Alabeo u Oscilación |
Interpretación: En toda la superficie especificada, la máxima oscilación axial que puede presentar la misma está limitada por dos planos paralelos separados 0.1mm y perpendiculares al eje de referencia A, durante varias revoluciones de la pieza alrededor de dicho eje y con desplazamiento radial del instrumento de medida. |
|---|---|---|
| Símbolo | ||
| Referencia a Datum | Se requiere |
Indicación en el dibujo
|
| Zona de tolerancia de alabeo total axial. |
Dos cilindros coaxiales Dos planos paralelos (cuando aplica a una superficie perpendicular a un eje de datum). |
Zona de tolerancia
|
Condición de material. Principio de máximo material (PMM)
La principal virtud de la aplicación del P.M.M. es que permite valorar errores geométricos mediante un calibre fijo de tamaño igual a la medida virtual del elemento a controlar. (Arias, 2013)
Requisito o condición de máximo material. CMM
Definición: Una pieza está en su condición de máximo material (C.M.M.) cuando la pieza contiene la máxima cantidad de material que permite la tolerancia dimensional considerada.
Elemento macho: la condición de máxima cantidad de material se da cuando su dimensión es máxima (Diámetro Máximo).
Elemento hembra: la condición de máximo material se dará cuando la dimensión sea mínima (Diámetro Mínimo)
El requisito de máximo material se indica mediante el símbolo
, se sitúa después del valor especificado de la tolerancia, de la letra de referencia o de los dos (ver figuras (7, 8 y 9).

Es usado mayormente en la tolerancia de posición, no debe ser usado en:
Centros de engranaje.
Agujeros roscados de ajustes entre otra
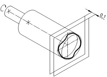
El rectángulo de la tolerancia indica que el eje puede tener un defecto de rectitud en condición de máximo material (CMM). El eje del cilindro puede oscilar dentro de un cilindro de diámetro 0.1. (Ver figura 1)
Figura 1
Para verificar la desviación de rectitud se puede crear un calibre que verifique este defecto. El calibre será un agujero que dimensione la medida teórica o virtual de la pieza a controlar, es decir 10.0 (condición de máximo material del cilindro) mas 0.1mm (tolerancia geométrica para la rectitud) sería igual a. 10.1
Cuando la pieza está en condición de máximo material mide 10.0 pero puede presentar una desviación de 0.1mm (tolerancia geométrica).
Las piezas de dimensiones 10.0 que presenten desviaciones de rectitud iguales o menores de 0.1 pasarán sin problemas por el calibre anterior y serán piezas validas.(ver figura 2)
Figura 2

































